In this project I fully rebuilt a Luminator FlipDot display board. Flip-dots are small disks that flip to display two colored sides. Compared to LED displays, they do not draw any power while showing a state. They only consume a pulse of power when switching. Of course, the downside is that at night you still need to illuminate them. Flip-dots are more of a novelty due to their mechanical complexity compared to LEDs. These displays were typically used on buses to show route information, though they could also be found in airports/train stations/or other places that need and updating message board. Luminator still exists today but has since moved to LED technology.
The model I got is a MAX 3000. I didn’t want to reverse-engineer the serial protocol, I wasn’t fond of the original casing, and I didn’t trust the old electronics; so I started from scratch. The only components I reused were the four 16Rx28C flip-dot boards. I designed a new PCB, a custom enclosure, and wrote all of the control software. The full display measures 16 rows by 112 columns.
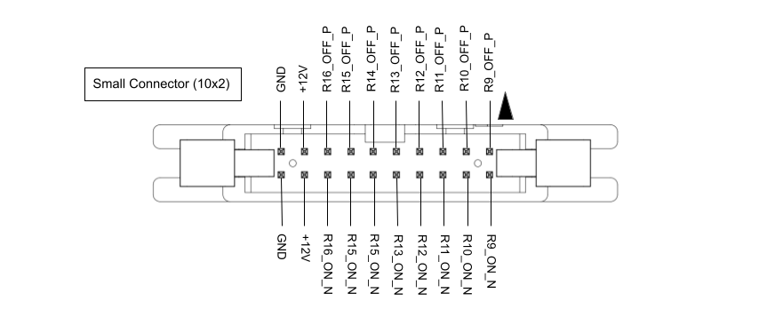
The PCB uses two chains of shift registers to drive high-side and low-side transistor arrays for each row and column. Each flip-dot needs its own H-bridge, so to update the display only one dot can be toggled at a time.
All project files are public on GitHub.
Picture of board

Videos of testing
8×8 Test Boards
Flip-dot Board Pinouts


Enclosure Photos